【摘要】 流动型量热法与差示扫描量热法相比,其测量原理更为简单。
(2)流动型量热仪
流动型量热法与差示扫描量热法相比,其测量原理更为简单。流动型量热法可以对液态或气态物质的比热容进行测量,且在高温或者高压下都有较高的测量精度。主要测量方法是稳定流经量热器的流体经加热器时会吸收一定的热量,加热前后会产生一定的温升,根据比热容的测试原理,即可求出比热容,表达式如下:
式中,为被测流体比热容; 为流体质量流量;P为系统在恒定温差下的加热功率; 为系统在恒定温差下的热流量损失; 为流体温度变化。
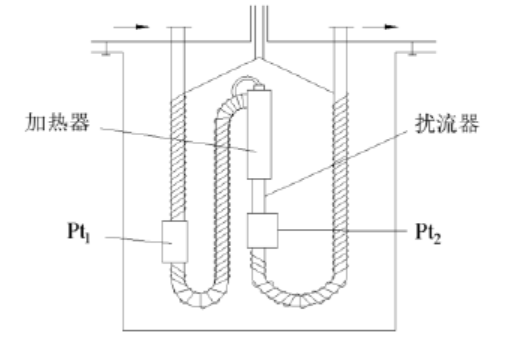
图1为量热器的示意图,通过加热器对设备中运行的被测物质进行加热,扰流器的作用是使在加热器中被加热的流体混合均匀,不出现较大温度梯度。

图1 量热器示意图
流动型量热仪相较于其他同类型仪器结构简单,设备加工难度不高,能够准确测量高温高压条件下流体的比热容,可靠性强,一直以来都受到各国的追捧与重视。
(3)绝热量热法
绝热量热法的基本测量原理与流动型量热仪相似,属于电加热法的一种。即在绝热条件下,对被测样品进行加热,然后通过测定被测样品吸收的热量和相应条件下的温度变化,基于比热容的基本计算公式(1)来计算被测样品比热容的一种测量方法。国内外对绝热法的研究历史悠久,已在各个领域有了较为成熟的应用。
绝热过程是一种理想状态,是对实际运行工况的理想化处理,以便于在工程实际中的对相关量的快速计算,因此测量装置的绝热性能是影响被测样品比热容测量精度的决定性因素。为降低实验误差,降低实验过程中的热损失,打造优良的绝热环境,可采用如下方法: a)降低被测样品存放容器与周围绝热设施的换热系数; b)避免被测样品存放容器与周围绝热设施之间出现大的局部温度梯度,使二者的温度维持在一个相似的水平。绝热量热法在低温约500℃的温度区间内,有较高的测量精度。
[1]符涛. 温度对导热油基纳米流体比热容影响规律研究[D].湖南工业大学, 2021. DOI:10.27730/d.cnki.ghngy.2021.000065.
[2] 任龙.高温溴化锂溶液导热系数和比热容的实验测定与模型计算[D].大连理工大学,2015.
科学指南针通过互联网技术建立更可靠的服务标准,全国26个办事处,12个城市拥有自营实验室,最好的设备、最专业的老师为您服务。





您已经拒绝加入团体

